
國六東風多利卡3.5方消防灑水車廠家電話:
159-7276-7978
東風小多利卡消防灑水車技術規格書
車型概述:消防灑水車是我廠在灑水車的基礎上,換裝消防車專用消防泵、消防炮,使之達到消防車流量大、射程遠的消防滅火要求,具有同等底盤下罐體容積大、流量大、射程遠、等特點,適用于村鎮、中小型企業消防,同時具備灑水車綠化噴灑功能。
車型特點:
采用東風汽車股份有限公司原裝雙排二類底盤EQ1075SJ3CDF,車輛性能穩定、綜合油耗低廉、駕乘舒適靈活、售后服務完善。
雙排座豪華駕駛室,冷暖空調、電動窗、中控鎖、遙控鑰匙、日間行車燈、斷氣剎、科技感十足,駕乘更舒適。
選配全柴發動機,115馬力,動力強勁,經濟省油,經濟性好,可靠性高,噪聲低,國Ⅵ排放標準。
標配消防車專用消防泵,消防炮。
標配前沖、后灑,功能完善。
(1)車輛基本技術參數:

整車型號:JDF5071GSSE6型灑水車
1、質量參數:
額定裝載質量(kg):3385
軸荷(kg):2640/4720
整車整備質量(kg):3650
最大總質量(kg):7360
2、尺寸參數:
長(mm):6100,6115
軸距(mm):3308
寬(mm):1980
高(mm):2650
前懸:1040
后懸:1752
前輪距:1521
后輪距:1498
接近角:22
離去角:12
3、其它參數:
最高車速(km/h):110
準乘人數:2+3
鋼板彈簧片數:6/6+5
驅動形式:4×2
輪胎數:6
輪胎規格:7.00R16
4、底盤:

底盤型號:EQ1075SJ3CDF
生產廠家:東風汽車股份有限公司
5、駕駛室配置:
空調:冷暖空調
中控鎖:有
電動玻璃:有
遙控鑰匙:有
方向助力:有
多功能方向盤:有
日間行車燈:有
斷氣剎:有
6、發動機
型號:Q23-115E60
功率(kw)/馬力:85/115
生產廠家:安徽全柴動力股份有限公司
排量(ml):2300
額定轉速(r/min):3200
最大扭矩(N∙m):320
最大扭矩轉速(r/min):2000
排放標準:GB3847-2005,GB17691-2018國Ⅵ

品牌:萬里揚
型號:5TS40
8、后橋
噸位:3.5
車架:188雙層大梁
9、其它
制動:氣制動
電壓(V):24
轉向:動力轉向
ABS廠家:襄陽東風隆誠機械有限責任公司
ABS型號:ABS/ASR-24V-4S/4M
10、罐體:水罐容量(L):3500
罐體材質:Q235碳鋼
厚度(mm):4
形狀:方圓形罐體、防浪板
設備:設DN460人孔1個,帶有快速鎖定/開啟裝置
1個液位觀察裝置(量管)
1個排污口,手動閥控制

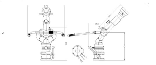
11、消防炮

射程(m):水≥45
流量(L/s):20
壓力(Mpa):≤0.7
俯仰旋轉(°):-30~+70
水平旋轉(°):0~360
重量(kg):≤25
長寬高(mm):485×250×530

◇操作靈活方便、炮身可做水平回轉和仰俯回轉
◇噴射時可做直流和噴霧
◇主要規格、性能參數均符合中華人民共和國標準GB19156-2003《消防炮通用技術條件》的要求
12、消防泵

生產廠家:上海茸申消防器材有限公司
◇泵殼采用導葉式,葉輪采用平衡環、平衡孔結構,大大減小了軸向力及徑向力,提高了壽命
◇各項性能指標均符合GB6245-2006標準,并通過國家消防裝備質量監督檢驗中心型式試驗。
◇是目前國內消防泵的升級換代產品,并可與國外同類產品媲美
13、取力器

操縱:電磁閥控制(電動操控)
冷卻方式:強制式可調式水冷
潤滑方式:飛濺式油潤滑
(2)國六東風多利卡3.5方消防灑水車各部件功能說明:
1、前沖(效果圖供參考)
標配前置對沖圓錐噴嘴,沖洗寬度≥25m圓錐噴嘴角度可以任意調節,可將中間車道的垃圾沖到兩側,方便對垃圾進行清掃收運,同時實現對多車道灑水塵。2、后灑
雙側后灑,灑水面積15m2。
主管道加粗,大通徑球閥,加厚法蘭盤、加厚防腐法蘭墊,消防水炮霧狀射程約15米,柱狀射程≥45米,流量達到20L/s,可用作消防救援滅火。
(3)整車全方位圖片(圖片僅供參考,以車間實際生產為準):







國六東風多利卡3.5方消防灑水車廠家電話:
159-7276-7978










